开关系列
● 概 述
FN5-12R(L)型户内交流高压负荷开关-熔断器组合电器经全面型试验和长期的试运行考核,性能达到IEC420≤交流高压负荷开关--熔断器组合电流≥(1990版)和GB3804≤3-63KV交流高压负荷开关≥标准要求,与国外同类产品比较,技术参数已达到同类产品水平,具有体积小,重量轻,可用于环网柜和箱式变电站,广泛应用于10KV线路电能的分配,可实现开关.隔离和接地三工位,并有效地避免了设备的缺相运行。
● 主要技术参数

● 熔断器额定参数

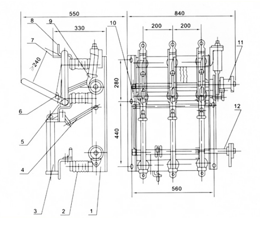
● 外形及安装图

FN5-12RD(L)户内交流高压负荷开关
1.底线 2.绝缘子 3.熔管 4.脱扣装置 5.动触头 6.灭弧器 7.导向片 8.静触头 9.分合闸机构 10.联锁装置 11.负荷开关操动机构 12.接地开关

负荷开关与CS6-Ⅰ 型操动机构联接安装图
1.负荷开关 2.弯连接 3.3/4焊接钢管(用户备用) 4.操动机构